
product center

雙排球式回轉支承(02系列)——外齒式
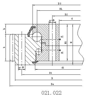
結構特點、性能、適用范圍
雙排球式回轉支承具有三個座圈,鋼 球和隔離塊可直接排入上下滾道,根據受力狀況,安排了上下兩排直徑不同的鋼球。這種開式裝配非常方便,上下圓弧滾道的承載角都為90°,能承受很大的軸向 力和傾翻力矩。當徑向力大于0.1倍的軸向力時滾道須特殊設計。雙排球式回轉支承的軸向、徑向尺寸都比較大,結構緊固。特別適用于要求中等以上直徑的塔式 起重機,汽車起重機等裝卸機械上。
序
外齒式
外型尺寸
安裝尺寸
結構尺寸
齒輪參數
齒輪圓周力
參考
D
d
H
D1
D2
n
mm
n1
H1
h
b
x
m
De
z
正火
調質
1
021.25.500
616
384
106
580
420
20
18
4
96
26
60
0.5
5
644
126
3.7
5.2
100
022.25.500
6
646.8
105
4.5
6.2
2
021.25.560
676
444
106
640
480
20
18
4
96
26
60
0.5
5
704
138
3.7
5.2
115
022.25.560
6
706.8
115
4.5
6.2
3
021.25.630
746
514
106
710
550
24
18
4
96
26
60
0.5
6
790.8
129
4.5
6.2
130
022.25.630
8
790.4
96
6
8.3
4
021.25.710
826
594
106
790
630
24
18
4
96
26
60
0.5
6
862.8
141
4.5
6.2
140
022.25.710
8
862.4
105
6
8.3
5
021.30.800
942
658
124
898
702
30
22
6
114
29
80
0.5
8
982.4
120
8
11.1
200
022.30.800
10
988
96
10
14
6
021.30.900
1042
758
124
998
802
30
22
6
114
29
80
0.5
8
1086.4
133
8
11.1
250
022.30.900
10
1088
106
10
14
7
021.30.1000
1142
858
124
1098
902
36
22
6
114
29
80
0.5
10
1198
117
10
14
300
022.30.1000
12
1197.6
97
12
16.7
8
021.30.1120
1262
978
124
1218
1022
36
22
6
114
29
80
0.5
10
1318
129
10
14
340
022.30.1120
12
1317.6
107
12
16.7
9
021.40.1250
1426
1074
160
1374
1126
40
26
5
150
39
90
0.5
12
1497.6
122
13.5
18.8
580
022.40.1250
14
1495.2
104
15.8
21.9
10
021.40.1400
1576
1224
160
1524
1272
40
26
5
150
39
90
0.5
12
1641.6
134
13.5
18.8
650
022.40.1400
14
1649.2
115
15.8
21.9
11
021.40.1600
1776
1424
160
1724
1476
45
26
5
150
39
90
0.5
14
1845.2
129
15.8
21.9
750
022.40.1600
16
1852.8
113
18.1
25
12
021.40.1800
1976
1624
160
1924
1676
45
26
5
150
39
90
0.5
14
2055.2
144
15.8
21.9
820
022.40.1800
16
2060.8
126
18.1
25
13
021.50.2000
2215
1785
190
2149
1851
48
33
8
178
47
120
0.5
16
2300.8
141
24.1
33.3
1150
022.50.2000
18
2300.4
125
27.1
37.5
14
021.50.2240
2455
2025
190
2389
2091
48
33
8
178
47
120
0.5
16
2540.8
156
24.1
33.3
1500
022.50.2240
18
2552.4
139
27.1
37.5
15
021.50.2500
2715
2285
190
2649
2351
56
33
8
178
47
120
0.5
18
2804.4
153
27.1
37.5
1700
022.50.2500
20
2816
138
30.1
41.8
16
021.50.2800
3015
2585
190
2949
2651
56
33
8
178
47
120
0.5
18
3110.4
170
27.1
37.5
1900
022.50.2800
20
3116
153
30.1
41.8
17
021.60.3150
3428
2872
226
3338
2962
56
45
8
214
56
150
0.5
20
3536
174
37.7
52.2
3300
022.60.3150
22
3537.6
158
41.5
57.4
18
021.60.3550
3828
3272
226
3738
3362
56
45
8
214
56
150
0.5
20
3936
194
37.7
52.2
3700
022.60.3550
22
3933.6
176
41.5
57.4
19
021.60.4000
4278
3722
226
4188
3812
60
45
10
214
56
150
0.5
22
4395.6
197
41.5
57.4
4200
022.60.4000
25
4395
173
47.1
65.2
20
021.60.4500
4778
4222
226
4688
4312
60
45
10
214
56
150
0.5
22
4879.6
219
41.5
57.4
4700
022.60.4500
25
4895
193
47.1
65.2
號
DL
mm
重量
kg
mm
mm
mm
mm
mm
mm
mm
mm
mm
mm
mm
Z 104N
T 104N
注:
1、n1為潤滑油孔數,均布:油杯M10×1 JB/T7940.1-JBT7940.2
2、安裝孔n-dn1、n-dn2可改用螺孔;齒寬b可改為H-h。
3、表內齒輪圓周力為最大圓周力,額定圓周力取其1/2。
4、外齒修頂系數0.1。